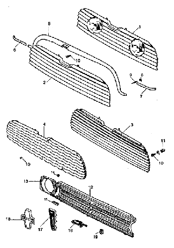
WEB SHOP > 純正パーツリスト・ボディ■■グリル(MK1/クラブマン) ■■P144





 
品番
商品名
入数
定価
備考
注文
1 8B12506 グリル (モーリス クーパー), ヘッドランプ穴付 1 26040 MK1
2 24A2158 グリル (モーリス クーパー) 1 23520 MK1
3 24A198 グリル (オースチン クーパー) 1 23835 MK1
4 14A7299 グリル (オースチン セブン) 1 25095 MK1
5 14A7781 グリル サラウンド 1 25200 MK1
6 14A7782 グリル サラウンド エンド フィニッシャー(右) 1 3097  
7 14A7783 グリル サラウンド エンド フィニッシャー(左) 1 3097  
8 ADA3583 グリル エンド モール クリップ[ヒゲクリップ] 4 210 MK1
9 DMP819 リベット (クリップ用) 4 199  
10 GHF421 スクリュー

10 126  
11 GFK7514 バッヂ グロメット (ホワイト)   147  
12 CZH4372 クラブマン グリル (CZH672) 1    
12 CZH1200 クラブマン グリル 1   GT
  HMP441039 クラブマン フロントパネル 1 60900  
  HMP441040 クラブマン フロントパネル 1 60900  
13 CZH3552 サラウンド (右), (クラブマン グリル用) 1 9135  
13 CZH3553 サラウンド (左), (クラブマン グリル用) 1 8347  
14 RTC3745 プラスチック ナット(旧品番:GHF1021) 8 157  
15 CZH614 グロメット (グリル用)
3    
16 CZH1220 GT バッジ (レッド) 1 14175 クラブンマン GT
17 CZH651 グリル バッジ 1   クラブンマン (-1976)
18 CZH4145 グリル バッジ 1   クラブンマン (1976-)
19 CZH652 クリップ (グリル バッジ用) 4    
           
           
           
           
           
           
           
           
           
           
           
           
           
           
           
           
           
           
           
           
   

 


Copyright (C) 1997-2005 MINICRAFT. All Rights Reserved.