WEB SHOP > 純正パーツリスト・ブレーキ■■ブレーキパイプ(フロントーリア) ■■P105





 
品番
商品名
入数
参考価格
備考
注文
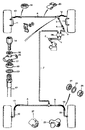
1 HMK9 パイプ (マスター − PDWA)  23cm 1   サーボなし
1 HMK11 パイプ (マスター − PDWA)  28cm 1   サーボ付き
2 HMK14 パイプ (マスター − PDWA)  36cm 1   サーボなし
2 HMK26 パイプ (マスター − PDWA)  66cm 1   サーボ付き
3 HMK8 パイプ (PDWA − BMK2466Aコネクター)           20cm 1    
3 HML8 パイプ (PDWA − No5)[No4コネクターなしの場合]     20cm 1   サーボ タイプ
4 BMK2466A メスMETRIC コネクター 1 2160 省略可
5 HMV11 パイプ (コネクター − フロント ホース バンジョ)        28cm 1    
5 HMV13 パイプ [No4コネクターなしの場合、使用のこと]          33cm 1    
6 HF44 パイプ (フロントホース − フロントホース)            112cm 1    
7 HMV102 パイプ (PDWA − リア Tピース ジャンクション)       259cm 1   サーボなし
7 HMV96 パイプ (PDWA − リア Tピース ジャンクション)       244cm

1   サーボ付き
8 HF25 パイプ (3ウェイ ピース − 左リア ブレーキ ホース)     64cm 1    
9 HF6 パイプ (3ウェイ ピース − 右リア ブレーキ ホース)     15cm 1    
10 HD10 パイプ (シリンダー − リア ホース)                25cm 2    
11 HD10 パイプ (シリンダー − シリンダー)                 25cm 2   ドラム
12 GBH170 フロント ブレーキ ホース 2 5880 ドラム [LH1698]
12 GBH249 フロント ブレーキ ホース 2 4850 ディスク [LH5148]
13 GBH250 リア ブレーキ ホース 2 3300 [LH5146]
14 C5192A バンジョ ボルト 1 1560  
15 3H550 コッパー ワッシャー (大) 1 290  
16 21A654 コネクティング バンジョ UNF 1 2220  
17 233220A コッパー ワッシャー (小) 1 120  
18 21A228 ナット (右ブレーキ ホース用) 1 290  
19 2K8686 ナット (左ブレーキ ホース用)
1 540  
20 WE600101 ロック ワッシャー 2 140  
21 3H2424 3ウェイ ユニオン UNF 1 2400  
22 NT606041 ナット (ホース − ラジアス アーム) 4 300  
23 GHF323 ワッシャー (NT606041用) 4 120  
24 GHF202 ナット 4 120  
25 11K9181 クリップ (パイプ − サブフレーム) 2 140  
26 FAM7821 プレッシャー デファレンシャル ワーニング アクティベーター 1 42000 1978- [LV17059]
26 13H5905 4ウェイ フェイラー スイッチ, 生産中止 1 5150 -1975 (左ハンドル)
27 13H7757 イナーシャ バルブ, (MK3左ハンドル用)
1   -1975 (左ハンドル)
  GB4999 ブレーキ パイプ キット 1    
           
           
           
           
           
           
           
           

 


Copyright (C) 1997-2005 MINICRAFT. All Rights Reserved.